www.vintagemodelairplane.com

Introduction - Causes of Problems created on Overrun

Overrun is generally understood as travelling, usually at higher speeds, often downhill, with the throttle fully shut. This exposes one of the Rover SD1 Efi System imperfections that not all the fuel injected into the inlet manifold and the plenum chamber is burned in the combustion chambers.

Sure, under normal cruising conditions, there is no significant amount of fuel coming into the plenum because the injectors squirt directly into the inlet manifold runners just prior to the intake valves where the gasping engine is waiting to breathe in everything that is available. Even so, the injectors do not squirt in sequence with the individual induction strokes, so fuel does hang around in the inlet manifold, mixed with the air already there, until it is inducted in turn.

It’s slightly different at idle when the low velocity of intake air-flow will allow some of the atomised fuel to migrate back into the plenum area aided by the fact that the plenum experiences higher depression (vacuum) at idle so there is an obvious tendency for parlicles of unburned mixture waiting its turn in the runners below the trumpets to migrate towards the point of highest vacuum.

Also, during cranking, fuel may be injected into the plenum from the cold start injector directly opposing the incoming stream of air. This produces a rich mixture, not all of which is ingested if, for some reason, the engine does not fire and run first poke. This leaves variable amounts of residual fuel in and around the plenum, trumpets and tunnels which, for example, can be strongly smelled when investigating a non-starting engine.

In addition to fresh air rushing into the plenum a stream of foul air is sucked up through the crank-case ventilation system containing unburned hydrocarbons mixed in with other noxious gasses.

The different conditions and sources of fuel combine to leave varying quantities of juice which, at average pressures experienced in the inlet area, condenses out into liquid form on the walls and surfaces of the plenum chamber and other parts of the inlet system, a normal phenomenom! These fuel residues do no harm, they just innocently exist thereabouts, until conditions change..

Inevitably, when the engine next encounters rapid deceleration with the throttle plate(s) shut, otherwise known as Overrun, a very high vacuum occurs in all the inlet areas which encourages any liquid fuel lurking there to vaporise. Messers Boyle and Charles wrote some laws about this!

With throttle shut, a small volume of air enters the engine via the Air Flow Meter (AFM) through the idle air gallery plus whatever sneaks past the closed throttle disc. The ECU responds accordingly by trying to inject correctly matched amounts of fuel at a level similar to the quantity at idle. Unfortunately the Overrun depression felt in the inlet manifold is much larger than that normally corrected for, by the Fuel Pressure Regulator, so the overall pressure differential across the injectors is much larger than the usual maximum of 36 psi.

This has the effect of sucking even more fuel from the injectors than intended by the ECU, exacerbating the overall richness making it impossible for any resultant mixture ito ignite inside the combustion chambers from where it passes unburned into the exhaust manifold.

Here, the rich unburned mixture encounters variable quantities of air, very hot gasses and piping hot metal surfaces enabling random combustion right there in the exhaust system. The result is loads of popping and banging, typically a very loud crackle, capable of generating spectacular flames from the tail pipe depending upon the state and nature of the silencers.

Apart from the anti-social nature of the associated decibels these random detonations outside the combustion chambers create excess stress and eventual damage to any local manifold gaskets.

Rover and Lucas' Solution

Rover and Lucas' solution to this phenomenom was to introduce a valve that responds to the high vacuum generated in the inlet manifold to allow in a more generous quantity of metered air from the air rail which in turn operates the AFM flap resulting in the signal to the ECU to inject an appropriate amount of fuel. A secondary effect of the opening valve is to reduce the pressure differential across the main injectors nullifying the excess sucking forces on them,

This larger combustible volume now combines successfully with the vaporising residual unburned fuel to ignite and burn properly inside the combustion chambers. Thus, the unwanted noise levels and it's associated potential damage generated on Overrun are suppressed.

Rover SD1 Efi Overrun Valve - Click for the Other Side

Rover SD1 Efi Archive - Overrun Valve - The Full Scientific Analysis

Click for the Full Efi Archive List

CONTENTS

# Introduction

# Rover and Lucas' Solution

# How it Works

# Problems with the Valve

The Diagnostic Challenge Continues

This above article is one of fifteen or so presentations on the key components making up the Electronic Fuel Injection System fitted to Rover SD1 Vitesse and Vdp Efi.

Pulling all these components together is the Efi Operations, Test and Instruction Manual enabling Home Enthusiasts to better understand its Purpose, Function and Maintenance.

.

Click here: for more information

Rover SD1 Tech'l Articles:... ..........................Site Contents:

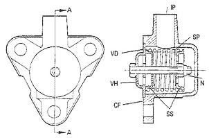
Mounted on the side of the plenum chamber at the rear of the engine, the connection face (CF) must be airtight. Sufficient air is provided by this valve during engine Overrun conditions to ensure good combustion.

This is necessary because the very high vacuum during rapid deceleration of the engine causes any residual fuel condensed on the inlet manifold and plenum chamber walls to evaporate and create an over rich mixture.

The pressure differential acting on the valve head (VH) compresses the spring (SP) centralised by the spring seats (SS). Thus, the head moves away from the valve disc (VD) which is trapped by the connection faces.

This allows metered air to pass from the air rail into the inlet pipe (IP) and through the valve into the plenum chamber to optimise the combustible mixture.

A nut (N) adjustment controls the spring tension, which is preset during manufacture and should not be altered. However, if it has been disturbed, acceptable conditions can be restored with the nut approximately 5 turns out from fully closed.

Problems with the Overrun Valve

Normally, there will not be any debris loose in the air rail but local air pipes deteriorate with age, consequently small pieces of rubber can break free and jam the valve in the part-open position.

Re-assembly after servicing requires a smear of instant gasket to effect a good seal at the valve/ plenum mating faces. Careless application of such goo can inhibit proper operation of the valve.

Damaged/Split air pipes can allow unwanted air into the plenum chamber.

A maladjusted nut will allow too much or too little air through the valve affecting satisfactory combustion of the fuel/air mixture on Overrun.

Setting up the Overrun Valve

I never found a written procedure for setting the nut position of the Overrun valve but observation of valves which still had paint blobs locking their position confirmed the optimum factory set position as being typically five turns out from fully home.

A similar setting can be obtained empirically using different nut positions whilst testing the car during extreme deceleration conditions until the typical Overrun crackle just disappears. No doubt there is a vacuum setting specified in inches of mercury witten somewhere to end the speculation.

Interestingly. for any Efi anoraks out there, because all Efi Rover SD1's are equipped with a trip computer it's possible to observe the effect of adjustment nut position on fuel consumption during Overrun as seen on the "inst mpg" trip computer reading whereby, with the nut in its optimum position the computer will show 40 to 65 mpg,

Conversely, with the nut turned fully home so virtually no air can pass through it from the AFM causing the ECU to add hardly any extra fuel, the"inst mpg" figure on Overrun will show as high as 140 mpg, depending of course on the Overrun speed.

The higher the speed, the higher the "inst mpg" reading. Mind you (Boy Racers please note), under those conditions, in addition to the crackling exhaust, the flames from the tail pipe are spectacular at the dead of night and by the dark of the moon.

Alternative System

From the above paragraphs one sees that a correctly set Overrun valve marginally degrades overall fuel consumption because fuel is added on Overrun. Land Rover versions of the SD1 Flapper system employed a vacuum operated switch to activate a relay disconnecting the engine running signal from Coil Negative to ECU, Pin 1, thereby preventing any fuel injection taking place.

The point of this being that the extreme pressure differential felt across the injectors cannot suck through any extra fuel in the throttle closed mode because the injectors are not opening, so no bulk mixture correction is required, resulting in improved exhaust emissions and fuel economy.

This also limits any exhaust noises to a brief period at the start of an Overrun sequence when any condensed fuel in the intake area is quickly dissipated and silence reigns inside the exhaust!

Conclusions

At it's simplest level the SD1 Efi Overrun valve merely corrects the fuel/air mixture during rapid deceleration with throttle shut so that unburned fuel cannot pass through to the exhaust manifold.

However the complexity of the science involved in establishing how this is achieved made it into an obsessive wild goose chase that the reader will find either fascinating or totally boring.

Whichever? One thing is for sure! The simple explanation does not do justice to the technical elegance of the solution.

Back to the Simple View Click Here:....................................... Please advise of errors and omissions

Rover SD1 Efi Overrun Valve - Click for Actual Valve

.Component Key

VH - Valve head -- VD - Valve disc

SP - Spring -------- SS - Spring seat

N - Nut -------------- IP - Inlet pipe

CF - Connection face to plenum

Click Image for the Real Thing

.

How the Overrun Valve works

Cont

# Setting up the Valve

# Alternative System

# Conclusions

Click Image for reverse view

Stop Press

A Major Review of Rover SD1 V8 Electronic Ignition System

Description & Analysis Here:

Components & Testing Here:

Ramon Alban

Home

About Me

Flying Faces

Crazy Rubberband

Vintage Freeflight Articles

Model Flying Tips'n'Tricks

Rover SD1 Tech'l Articles

Rover SD1 Efi Comp'nents

Rover SD1 Tech Manuals

Rover SD1 Tips'n'Tricks

Photo & Media Gallery

Site Contents & Map

Contact Me

My Family

Links


View My Stats

Problems with this site? Email Fatfingers Visit Sam35